# 在外汇市场中,资金的安全是第一位,而众所周知,凡是遇到那些不给出金还要让其缴纳税的平台,一定要远离,因为正规的交易平台是不收取以个人所得税,或者保证金等理由的费用,而这类平台大部分是非法平台。
近日,有用户向斑马投诉反映,在“MasterMind Capitals”平台出金延迟的问题。
# 据用户A某(化名)反映,其经历了如下情况:
A某表示,半个月前,就来投诉过,反馈MasterMind Capitls平台不给出金,还要求缴纳保证金税费,在投诉后,工作人员显示称删除投诉,就给我退本金。
A某表示,在处理完成投诉后,该平台的客服还让我将其中的9405美金内转到他们自己的账户中,而后的答应的退本金事宜,就再无回应,出金申请仍被无限期拖延。


(A某提供的客服沟通截图已授权)
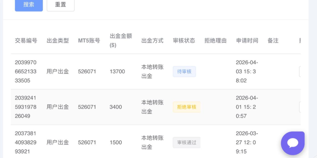
A某表示,自己的资金情况入金7000美元,目前账户中大概有13700美金左右。
第一次出金1500美元:成功
第二次出金3400美元:被拒(以银行卡异常拒绝)
第三次出金13700美元:被拒(以节假日/银行卡异常)
主动联系客服,明确放弃利润,只要求退还本金7000美元,对此平台:零回复。A某希望平台能够将本金退还。


(A某提供的邮件截图已授权)

(A某提供的后台截图已授权)
针对上述投诉,斑马投诉已第一时间将相关信息反馈给MasterMind Capitls平台,截至发稿时,我们尚未收到MasterMind Capitls平台的正式回应。 我们将保持持续联系,敦促平台提供官方解释和相关证据,促进问题得到公正解决。
我也特意看了一下第三方软件“海投”的数据,MasterMind Capitls平台目前排名2666,成立3年,手里拿着1个金融监管牌照。当然,评分数据只是仅供参考。

做投资,保住本金永远是第一位的。 不管是在外汇市场、股市还是币圈,道理都是一样的。你赚到的利润只要还没落进口袋,就都只是数字。选平台的时候多查查资料、多看看评价、多了解监管情况,总归没有坏处。
至于A某和MasterMind Capitals之间的这起纠纷,小编会持续关注。希望平台方面能尽早给出一个正式的回应——无论是解释、澄清还是其他处理方式,投资者都值得一个说法。
也希望各位朋友在做任何投资之前,都能想清楚一件事:天上不会掉馅饼,但地上到处都是陷阱。保护好自己,比什么都重要。
免责声明:本文内容仅供参考,不构成任何投资建议。本文基于用户A某的投诉进行报道,并不代表本平台立场。外汇交易存在风险,请谨慎投资。本文中使用的截图等素材,均已获得相关权利人的授权。








